Toyota Camry owners & service manuals

Toyota Camry (XV70): Left Electric Parking Brake Actuator Control (C060B00,C060B11)

Toyota Camry Repair Manual XV70 (2018-2024) / Brake / Parking Brake / Electric Parking Brake System / Left Electric Parking Brake Actuator Control (C060B00,C060B11)

DESCRIPTION

DTC No.

Detection Item

DTC Detection Condition

Trouble Area

Memory

Note

C060B00

Left Electric Parking Brake Actuator Control

  • Diagnosis Condition:

    -

  • Malfunction Status:

    When the ECU power supply is normal, a malfunction in the electric parking brake actuator LH internal circuit is detected.

  • Detection Time:

    -

  • Parking brake actuator assembly LH
  • No. 2 parking brake wire assembly
  • Wire harness or connector
  • Skid control ECU (brake actuator assembly)

DTC stored

An electric parking brake system malfunction is displayed on the multi-information display.

C060B11

Left Electric Parking Brake Actuator Control Circuit Short to Ground

  • Diagnosis Condition:

    Electric parking brake not operating

  • Malfunction Status:

    The ECU power supply is normal but there is a malfunction in the electric parking brake actuator LH internal circuit (short to GND).

  • Detection Time:

    Approximately 0.015 to 0.195 seconds (depending on each malfunction)

  • Parking brake actuator assembly LH
  • No. 2 parking brake wire assembly
  • Wire harness or connector
  • Skid control ECU (brake actuator assembly)

DTC stored

An electric parking brake system malfunction is displayed on the multi-information display.

WIRING DIAGRAM

PROCEDURE

1.

INSPECT NO. 2 PARKING BRAKE WIRE ASSEMBLY

(a) Turn the ignition switch off.

(b) Make sure that there is no looseness at the locking part and the connecting part of the connectors.

OK:

The connector is securely connected.

(c) Disconnect the vR2 and v1 No. 2 parking brake wire assembly connectors.

(d) Check both the connector case and the terminals for deformation and corrosion.

OK:

No deformation or corrosion.

(e) Measure the resistance according to the value(s) in the table below.

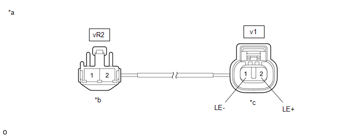
*a

Front view of No. 2 Parking Brake Wire Assembly

*b

(to wire harness connector)

*c

(to Parking Brake Actuator Assembly LH)

-

-

Standard Resistance:

Tester Connection

Condition

Specified Condition

vR2-2 or v1-2 (LE+) - Body ground and other terminals

Always

10 kΩ or higher

vR2-1 or v1-1 (LE-) - Body ground and other terminals

Always

10 kΩ or higher

NG

REPLACE NO. 2 PARKING BRAKE WIRE ASSEMBLY

OK

2.

CHECK HARNESS AND CONNECTOR (SKID CONTROL ECU (BRAKE ACTUATOR ASSEMBLY) - PARKING BRAKE ACTUATOR ASSEMBLY LH)

(a) Turn the ignition switch off.

(b) Make sure the No. 2 parking brake wire assembly is securely installed.

(c) Disconnect the A34 skid control ECU (brake actuator assembly) connector.

(d) Disconnect the v1 parking brake actuator assembly LH connector.

(e) Measure the resistance according to the value(s) in the table below.

Standard Resistance:

Tester Connection

Condition

Specified Condition

A34-13 (MRL+) or v1-2 (LE+) - Body ground

Always

10 kΩ or higher

A34-12 (MRL-) or v1-1 (LE-) - Body ground

Always

10 kΩ or higher

NG

REPAIR OR REPLACE HARNESS OR CONNECTOR

OK

3.

INSPECT PARKING BRAKE ACTUATOR ASSEMBLY LH

(a) Remove the parking brake actuator assembly LH.

Click here

(b) Inspect the parking brake actuator assembly LH.

Click here

OK

REPLACE SKID CONTROL ECU (BRAKE ACTUATOR ASSEMBLY)

NG

REPLACE PARKING BRAKE ACTUATOR ASSEMBLY LH

    READ NEXT:

     Left Electric Parking Brake Actuator Control Circuit Short to Battery (C060B12)

    DESCRIPTION DTC No. Detection Item DTC Detection Condition Trouble Area Memory Note C060B12 Left Electric Parking Brake Actuator Control Circuit Short to Battery

     Left Electric Parking Brake Actuator Control Circuit Open (C060B13)

    DESCRIPTION DTC No. Detection Item DTC Detection Condition Trouble Area Memory Note C060B13 Left Electric Parking Brake Actuator Control Circuit Open Diagnos

     Left Electric Parking Brake Actuator Signal Stuck In Range (C060E2A)

    DESCRIPTION DTC No. Detection Item DTC Detection Condition Trouble Area Memory Note C060E2A Left Electric Parking Brake Actuator Signal Stuck In Range Diagno

    SEE MORE:

     Heated steering wheel/seat heaters/seat ventilators

    Heated steering wheel and seat heaters heat the side grips of the steering wheel and seats, respectively. Seat ventilators maintain good ventilation by pulling air through the seat upholstery. WARNING ■To prevent minor burn injuries Care should be taken to prevent injury if anyone in the foll

     Control Module Communication Bus "B" Off Bus Off (U007488,...,U015187)

    DESCRIPTION The skid control ECU (brake actuator assembly) communicates with the following ECUs and sensors via CAN communication. ECM TCM (ECM) Yaw rate and acceleration sensor (airbag sensor assembly) Steering angle sensor Power steering ECU (rack and pinion power steering gea

    © 2023-2025 Copyright www.tocamry.com