Toyota Camry owners & service manuals

Toyota Camry (XV70): Installation

INSTALLATION

PROCEDURE

1. INSTALL REAR SUSPENSION MEMBER FRONT BODY MOUNTING CUSHION (for LH Side)

(a) Confirm the installation direction and temporarily install a new rear suspension member front body mounting cushion.

NOTICE:

  • Position the rear suspension member front body mounting cushion in the correct direction.
  • Do not apply lubricant to the outer sleeve of the rear suspension member front body mounting cushion.

*A

Type A

*B

Type B

*a

View from Underneath

Front of the Vehicle

Outside of the Vehicle

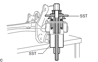
(b) Install SST as shown in the illustration.

SST: 09570-24011

SST: 09830-10010

09830-01010

09830-01020

09830-01040

09830-01050

NOTICE:

Apply molybdenum grease to the threads and tip of the SST center bolt before use.

(c) Using SST, install the rear suspension member front body mounting cushion until there is no clearance between the rear suspension member sub-assembly and rear suspension member front body mounting cushion.

SST: 09570-24011

SST: 09830-10010

09830-01010

09830-01020

09830-01040

09830-01050

NOTICE:

If the rear suspension member sub-assembly is scratched, apply paint to the scratched areas of the rear suspension member sub-assembly.

*a

Hold

Turn

(d) Remove SST from the rear suspension member sub-assembly.

2. INSTALL REAR SUSPENSION MEMBER FRONT BODY MOUNTING CUSHION (for RH Side)

(a) Confirm the installation direction and temporarily install a new rear suspension member front body mounting cushion.

NOTICE:

  • Position the rear suspension member front body mounting cushion in the correct direction.
  • Do not apply lubricant to the outer sleeve of the rear suspension member front body mounting cushion.

*A

Type A

*B

Type B

*a

View from Underneath

Front of the Vehicle

Outside of the Vehicle

(b) Install SST using the same procedure as for the rear suspension member front body mounting cushion (for LH Side).

SST: 09570-24011

SST: 09830-10010

09830-01010

09830-01020

09830-01040

09830-01050

NOTICE:

Apply molybdenum grease to the threads and tip of the SST center bolt before use.

(c) Using SST, install the rear suspension member front body mounting cushion until there is no clearance between the rear suspension member sub-assembly and rear suspension member front body mounting cushion.

SST: 09570-24011

SST: 09830-10010

09830-01010

09830-01020

09830-01040

09830-01050

NOTICE:

If the rear suspension member sub-assembly is scratched, apply paint to the scratched areas of the rear suspension member sub-assembly.

HINT:

Perform the same procedure as for the rear suspension member front body mounting cushion (for LH Side).

(d) Remove SST from the rear suspension member sub-assembly.

3. INSTALL REAR SUSPENSION MEMBER REAR BODY MOUNT CUSHION LH

(a) Confirm the installation direction and temporarily install a new rear suspension member rear body mount cushion LH.

NOTICE:

  • Position the rear suspension member rear body mount cushion LH in the correct direction.
  • Do not apply lubricant to the outer sleeve of the rear suspension member rear body mount cushion LH.

*A

Type A

*B

Type B

*a

View from Underneath

Front of the Vehicle

Outside of the Vehicle

(b) Install SST as shown in the illustration.

SST: 09710-28031

09711-02030

09711-02040

94622-51200

SST: 09950-60021

09951-00720

09951-00890

NOTICE:

Apply molybdenum grease to the threads and tip of the SST center bolt before use.

(c) Using SST, install the rear suspension member rear body mount cushion LH until there is no clearance between the rear suspension member sub-assembly and rear suspension member rear body mount cushion LH.

SST: 09710-28031

09711-02030

09711-02040

94622-51200

SST: 09950-60021

09951-00720

09951-00890

NOTICE:

If the rear suspension member sub-assembly is scratched, apply paint to the scratched areas of the rear suspension member sub-assembly.

*a

Hold

Turn

(d) Remove SST from the rear suspension member sub-assembly.

4. INSTALL REAR SUSPENSION MEMBER REAR BODY MOUNT CUSHION RH

(a) Confirm the installation direction and temporarily install a new rear suspension member rear body mount cushion RH.

NOTICE:

  • Position the rear suspension member rear body mount cushion RH in the correct direction.
  • Do not apply lubricant to the outer sleeve of the rear suspension member rear body mount cushion RH.

*A

Type A

*B

Type B

*a

View from Underneath

Front of the Vehicle

Outside of the Vehicle

(b) Install SST using the same procedure as for the rear suspension member rear body mount cushion LH.

SST: 09710-28031

09711-02030

09711-02040

94622-51200

SST: 09950-60021

09951-00720

09951-00890

NOTICE:

Apply molybdenum grease to the threads and tip of the SST center bolt before use.

(c) Using SST, install the rear suspension member rear body mount cushion RH until there is no clearance between the rear suspension member sub-assembly and rear suspension member rear body mount cushion RH.

SST: 09710-28031

09711-02030

09711-02040

94622-51200

SST: 09950-60021

09951-00720

09951-00890

NOTICE:

If the rear suspension member sub-assembly is scratched, apply paint to the scratched areas of the rear suspension member sub-assembly.

HINT:

Perform the same procedure as for the rear suspension member rear body mount cushion LH.

(d) Remove SST from the rear suspension member sub-assembly.

5. INSTALL REAR UPPER CONTROL ARM ASSEMBLY LH

Click here

6. INSTALL REAR UPPER CONTROL ARM ASSEMBLY RH

HINT:

Perform the same procedure as for the LH side.

7. INSTALL REAR SUSPENSION MEMBER SUB-ASSEMBLY

(a) Install the 4 rear suspension member cushions to the rear suspension member sub-assembly.

HINT:

When reusing the rear suspension member cushion, make sure to check its identification mark and install it to the correct position.

(b) Using an engine lifter and 4 attachments or equivalent tools, support the rear suspension member sub-assembly as shown in the illustration.

  • The rear suspension member sub-assembly is a very heavy component. Make sure that it is supported securely.
  • If the rear suspension member sub-assembly is not securely supported, it may drop, resulting in serious injury.

NOTICE:

  • Use attachments or equivalent tools to keep the rear suspension member sub-assembly level.
  • Keep supporting the rear suspension member sub-assembly until the installation has been completed.

*a

Engine Lifter

*b

Attachment

Attachment Placement Location

(c) Raise the rear suspension member sub-assembly until there is no clearance between the rear suspension member sub-assembly and vehicle.

(d) Install the rear suspension member sub-assembly with the 2 rear suspension member lower stoppers, rear suspension member lower brace LH and rear suspension member lower brace RH, 2 bolts and 6 nuts.

Torque:

Bolt A :

158 N

    READ NEXT:

     Rear Suspension Member (for Awd)

     Components

    COMPONENTS ILLUSTRATION *1 SPARE WHEEL COVER ASSEMBLY - - ILLUSTRATION *1 LUGGAGE COMPARTMENT TRIM INNER PAD *2 REAR CENTER SEAT OUTER BELT ASSEMBLY

     Removal

    REMOVAL CAUTION / NOTICE / HINT The necessary procedures (adjustment, calibration, initialization, or registration) that must be performed after parts are removed and installed, or replaced during r

    SEE MORE:

     Control Module Processor System Internal Failure (P060604,P060629,P06062A,P060647)

    MONITOR DESCRIPTION The ECM continuously monitors its main and sub CPUs. This self-check ensures that the ECM is functioning properly. If outputs from these CPUs are different and deviate from the standard, the ECM will illuminate the MIL and store a DTCs. DTC No. Detection Item DTC Det

     Software Incompatibility with Cruise Control Module Invalid/Incompatible Software Component (U030557)

    DESCRIPTION The millimeter wave radar sensor assembly receives vehicle information from the forward recognition camera via CAN communication. If the vehicle information stored in the forward recognition camera differs from that stored in the millimeter wave radar sensor assembly, the millimeter wa

    © 2023-2026 Copyright www.tocamry.com