Toyota Camry owners & service manuals

Toyota Camry (XV70): Installation

INSTALLATION

PROCEDURE

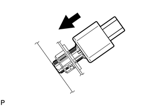
1. INSTALL STOP LIGHT SWITCH ASSEMBLY

(a) Insert the stop light switch assembly until the threaded sleeve hits the pedal.

NOTICE:

When inserting the stop light switch assembly, support the pedal from behind so that the pedal is not pushed in.

(b) Turn the stop light switch assembly 1/4 clockwise to install it.

Torque:

1.5 N

    READ NEXT:

     Switch Housing

     Components

    COMPONENTS ILLUSTRATION *1 STEERING WHEEL SWITCH HOUSING *2 TURN SIGNAL SWITCH *3 WINDSHIELD WIPER SWITCH ASSEMBLY - -

     Removal

    REMOVAL CAUTION / NOTICE / HINT The necessary procedures (adjustment, calibration, initialization, or registration) that must be performed after parts are removed, installed, or replaced during the

    SEE MORE:

     Back-up Battery

    ComponentsCOMPONENTS ILLUSTRATION *1 BACK-UP BATTERY *2 TRANSCEIVER COVER RemovalREMOVAL CAUTION / NOTICE / HINT The necessary procedures (adjustment, calibration, initialization, or registration) that must be performed after parts are removed and installed, or replaced duri

     Pressure Control Solenoid "L" Circuit Short to Ground or Open (P08BA14)

    DESCRIPTION Refer to DTC P08BA12. Click here DTC No. Detection Item DTC Detection Condition Trouble Area MIL Memory Note P08BA14 Pressure Control Solenoid "L" Circuit Short to Ground or Open While the vehicle is being driven so that gear changes occur,

    © 2023-2026 Copyright www.tocamry.com