Toyota Camry owners & service manuals

Toyota Camry (XV70): Removal

REMOVAL

CAUTION / NOTICE / HINT

The necessary procedures (adjustment, calibration, initialization or registration) that must be performed after parts are removed and installed, or replaced during tire pressure warning valve and transmitter removal/installation are shown below.

Necessary Procedures After Parts Removed/Installed/Replaced

Replaced Part or Performed Procedure

Necessary Procedure

Effect/Inoperative Function when Necessary Procedure not Performed

Link

Tire pressure warning valve and transmitter

  • Register transmitter ID
  • Initialize tire pressure warning system
  • When DTC detection conditions of "transmitter ID not received" DTC are met, TPWS indicator blinks for 1 minute, and then illuminates.
  • Tire pressure warning function

for Registration

for Initialization

PROCEDURE

1. REMOVE WHEEL ASSEMBLY

Click here

2. REMOVE TIRE PRESSURE WARNING VALVE AND TRANSMITTER (for Type A)

(a) Remove the tire valve cap.

NOTICE:

Keep the removed tire valve cap.

(b) Remove the valve core to release the air from the tire.

NOTICE:

Make sure that a sufficient amount of air has been released.

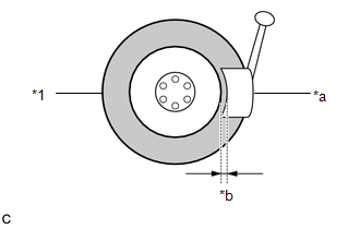
(c) Using a tire remover, remove the tire from the disc wheel.

NOTICE:

  • Be careful not to damage the tire pressure warning valve and transmitter due to interference between the valve and the tire bead.
  • Set the tire remover shoe as shown in the illustration.

*1

Tire

*a

Shoe

*b

10 to 20 mm (0.394 to 0.787 in.)

(d) Using a T10 "TORX" socket wrench, remove the bolt and tire pressure monitor sensor from the tubeless tire valve.

(e) Cut the tubeless tire valve and remove it by pulling from the outer side of the disc wheel as shown in the illustration.

*1

Tubeless Tire Valve

Cutting Area

3. REMOVE TIRE PRESSURE WARNING VALVE AND TRANSMITTER (for Type B)

(a) Remove the tire valve cap.

NOTICE:

Keep the removed tire valve cap.

(b) Remove the valve core to release the air from the tire.

NOTICE:

Make sure that a sufficient amount of air has been released.

(c) Using a 11 mm deep socket wrench, remove the nut and washer.

(d) Drop the tire pressure warning valve and transmitter with grommet into the tire.

HINT:

The grommet may remain attached to the rim.

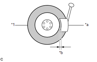
(e) Using a tire remover, remove the tire from the disc wheel.

NOTICE:

  • Be careful not to damage the tire pressure warning valve and transmitter due to interference between the valve and the tire bead.
  • Set the tire remover shoe as shown in the illustration.

*1

Tire

*a

Shoe

*b

10 to 20 mm (0.394 to 0.787 in.)

(f) Take out the tire pressure warning valve and transmitter with grommet from the tire.

(g) Remove the grommet from the tire pressure warning valve and transmitter.

(h) Using a T10 "TORX" socket wrench, remove the bolt and tire pressure monitor sensor from the tubeless tire valve.

    READ NEXT:

     Installation

    INSTALLATION CAUTION / NOTICE / HINT NOTICE:for Type A Always use a new bolt, tubeless tire valve and valve core when installing the tire pressure warning valve and transmitter. Make sure

     Disposal

    DISPOSAL CAUTION / NOTICE / HINT HINT: The tire pressure warning valve and transmitter is powered by a lithium battery. When disposing of the tire pressure warning valve and transmitter, remove the

     Vehicle Exterior

    SEE MORE:

     Cooling Fan Circuit

    DESCRIPTION The ECM calculates an appropriate cooling fan speed based on the engine coolant temperature, air conditioning switch status, refrigerant pressure, engine speed and vehicle speed, and sends a signal to the cooling fan ECU (fan with motor assembly). The cooling fan ECU (fan with motor asse

     Vehicle load limits

    Vehicle load limits include total load capacity, seating capacity, towing capacity and cargo capacity. ◆ Total load capacity (vehicle capacity weight) Total load capacity means the combined weight of occupants, cargo and luggage. ◆ Seating capacity Seating capacity means the maximum number

    © 2023-2026 Copyright www.tocamry.com